HF-N Sensor
.webp)
HF-N sensors are precision proximity sensors designed for fast, reliable detection in industrial and automation applications. They are known for high sensitivity, robust design, and stable performance even in challenging environments
- Non-contact detection: Uses electromagnetic or inductive principles to detect metal objects without physical contact.
- High-speed response: Capable of detecting fast-moving objects accurately.
- Durable design: Resistant to dust, vibration, and temperature variations.
- Long-term reliability: Maintains consistent performance over extended use.

FS Sensor

FS sensors are high-precision sensors designed for accurate detection and measurement in industrial, automation, and safety applications. They combine fast response, robustness, and long-term reliability.
- Fast and precise sensing: Detects changes quickly with high accuracy.
- Durable construction:Resistant to environmental factors like dust, vibration, and temperature fluctuations.
- Stable long-term performance: Maintains accuracy over prolonged operation.
- Compact design:Easy integration into various devices and systems

HF-H sensor

HF-H sensors are high-performance proximity sensors engineered for precise and reliable detection in industrial and automation environments. They excel in fast response, high durability, and consistent long-term performance.
- Non-contact detection : Uses electromagnetic or inductive principles to detect metal objects without physical contact.
- High-speed response : Quickly detects moving objects with precision.
- Robust design : Resistant to dust, vibration, and temperature variations.
- Long-term reliability : Ensures stable performance over extended periods.

HF-L sensor

HF-L sensors are precise, reliable proximity sensors designed for accurate detection in industrial and automation applications. They emphasize fast response, energy efficiency, and consistent operation in challenging environments.
- Non-contact detection : Detects metal objects without physical contact using inductive or electromagnetic sensing.
- Fast response : Provides quick and accurate detection for moving targets.
- Durable construction : Resistant to dust, vibration, and temperature variations.
- Long-term stability: Maintains reliable performance over extended periods.

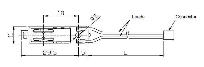
Eyelet (lug terminal) sensor
-sensor-.webp)
Eyelet sensors, also known as lug terminal sensors, are designed for precise electrical connection and monitoring in industrial and electronic applications. They combine reliable connectivity with accurate sensing for current, voltage, or temperature detection.
- Secure connection: The eyelet (lug) allows firm attachment to screws, bolts, or terminals for stable electrical contact.
- Accurate sensing: Measures current, voltage, or temperature depending on sensor design.
- Durable construction: Resistant to vibration, corrosion, and environmental stress.
- Long-term reliability : Maintains consistent performance over prolonged use

Eyelet (lug terminal) sensor
-sensor.webp)
Eyelet sensors, also called lug terminal sensors, are designed for secure electrical connections and accurate measurement in industrial and electronic applications. They combine robust connectivity with precise sensing capabilities.
- Secure mechanical connection : The eyelet (lug) allows firm attachment to screws, bolts, or terminals, ensuring stable contact.
- Accurate sensing : Can measure current, voltage, or temperature depending on sensor type.
- Durable construction : Resistant to vibration, corrosion, and environmental stress.
- Long-term reliability : Maintains consistent performance over extended operation.

Eyelet (lug terminal) sensor
-sensor.webp)
Eyelet sensors, also called lug terminal sensors, provide reliable electrical connection and accurate measurement in industrial and electronic systems. They combine secure mounting with precise sensing performance.
- Secure attachment: Eyelet (lug) design allows stable connection to screws, bolts, or terminals.
- Accurate measurement : Can detect current, voltage, or temperature depending on sensor configuration.
- Durable and robust : Resistant to vibration, corrosion, and environmental stress.
- Long-term stability : Maintains consistent performance over extended use.

Screw housing sensor

Screw housing sensors are designed for secure mounting and precise sensing in industrial and electronic applications. They combine robust mechanical attachment with reliable measurement performance.
- Secure mounting : Screw housing ensures stable installation on panels, machinery, or equipment.
- Accurate sensing : Can detect parameters such as temperature, position, or current depending on sensor type.
- Durable construction : Resistant to vibration, environmental stress, and mechanical wear.
- Long-term reliability : Maintains consistent performance over extended operation.

PTFE tube sensor

PTFE tube sensors are designed for reliable sensing in environments requiring high chemical resistance and electrical insulation. Encased in PTFE (Polytetrafluoroethylene) tubing, they offer excellent durability and stability in harsh operating conditions.
- PTFE insulation : Provides superior resistance to chemicals, moisture, and high temperatures.
- Excellent electrical insulation : Ensures safe and stable operation.
- Flexible and durable : PTFE tubing allows easy installation while maintaining mechanical strength.
- High reliability : Maintains consistent sensing performance over long-term use.

Slim case sensor

Slim case sensors are compact, space-saving sensing devices designed for applications where installation space is limited. They provide reliable and accurate measurement while maintaining a thin, lightweight profile.
- Ultra-slim design : Ideal for tight or confined mounting spaces.
- Accurate sensing performance : Ensures precise detection or measurement depending on sensor type.
- Lightweight construction : Reduces mechanical load and simplifies installation.
- Durable housing : Resistant to vibration and environmental stress
- Long-term stability : Maintains consistent performance over extended operation.

Fμ sensor

Fμ sensors are ultra-miniature sensing devices designed for high-precision measurement in applications where space is extremely limited. Their micro-scale construction enables fast response and reliable performance while maintaining compact size.
- Ultra-miniature design : Micro-sized structure ideal for compact assemblies and precision electronics.
- High sensitivity : Provides accurate and stable measurement performance.
- Fast response time : Quickly reacts to changes in the measured parameter.
- Lightweight and compact : Minimizes space usage without compromising reliability.
- Long-term stability : Ensures consistent operation over extended periods.

Thermometer

The 503ET-3H87U thermometer is a precision temperature sensing device designed for accurate and reliable temperature measurement in industrial and electronic applications. It combines stable performance with durable construction for long-term operation.
- High accuracy measurement : Provides precise temperature readings with good repeatability.
- Fast response time : Quickly detects temperature changes for real-time monitoring.
- Stable performance : Ensures reliable operation over extended periods.
- Robust design : Built to withstand environmental stress and industrial conditions.
- Compact structure : Suitable for integration into equipment, panels, or electronic assemblies.

Thermometer FT-ZM

The FT-ZM thermometer is a high-precision temperature sensing device designed for fast response and reliable performance in compact and demanding applications. It utilizes advanced thin-film technology to ensure accurate and stable temperature measurement.
- Thin-film sensing element : Enables fast thermal response and high sensitivity.
- High accuracy : Provides precise temperature readings with excellent repeatability.
- Compact design : Suitable for space-limited installations.
- Excellent stability : Maintains consistent performance over long-term operation.
- High heat resistance : Designed to operate reliably in elevated temperature environments.

Copper pipe sensor

Copper pipe sensors are temperature sensing devices enclosed in a copper tube for enhanced thermal conductivity and mechanical protection. They are designed for fast and accurate temperature measurement in industrial and HVAC applications.
- Copper housing : Provides excellent thermal conductivity for fast response to temperature changes.
- Robust construction : Protects the sensor from mechanical damage and environmental stress.
- Good heat transfer performance : Ideal for surface or pipe temperature monitoring.
- Long-term reliability : Maintains stable operation over extended use.

Epoxy-dipped sensor

Epoxy-dipped sensors are compact sensing devices coated with a protective epoxy resin layer. This encapsulation provides mechanical strength, moisture resistance, and electrical insulation, making them suitable for various industrial and electronic applications.
- Epoxy resin coating : Offers strong insulation and protection against moisture, dust, and chemicals
- Compact and lightweight design : Easy to integrate into electronic assemblies.
- Accurate sensing element: Provides precise and stable measurement performance.
- Good mechanical durability : Resistant to vibration and handling stress.
- Long-term reliability : Maintains consistent operation over extended periods

Resin pipe sensor

Resin pipe sensors are temperature sensing devices enclosed in a durable resin tube for enhanced mechanical protection and electrical insulation. They are designed for reliable performance in environments requiring moisture resistance and structural stability.
- Resin tube housing : Provides strong insulation and protection against moisture, dust, and environmental stress.
- Good thermal response : Ensures accurate and stable temperature measurement.
- Lightweight and durable: Offers mechanical strength while remaining easy to install.
- Corrosion resistant : Suitable for humid or chemically exposed environments.
- Long-term reliability : Maintains consistent sensing performance over extended use.

Thermopile module

A thermopile module is a non-contact temperature sensing device that detects infrared (IR) radiation emitted by objects. It consists of multiple thermocouples connected in series or parallel to generate a measurable voltage proportional to temperature differences.
- Infrared (IR) sensing : Enables non-contact temperature measurement.
- High sensitivity : Multiple thermocouples provide enhanced signal output.
- Fast response time : Quickly detects temperature changes.
- Compact module design : Easy integration into electronic systems.
- Stable performance : Maintains reliable operation over long-term use.

Flange pipe sensor

Flange pipe sensors are temperature sensing devices designed for secure installation on pipes, tanks, or vessels using a flange mounting system. They offer accurate temperature measurement in demanding industrial environments.
- Flange mounting : Provides stable and secure attachment for pipe or tank applications.
- Accurate sensing element : Ensures precise and repeatable temperature readings.
- Robust construction : Withstands vibration, pressure, and harsh environmental conditions.
- Efficient heat transfer : Optimized for reliable measurement of fluid or surface temperatures.
- Long-term reliability : Maintains consistent performance during prolonged operation.

Eyelet (lug terminal) sensor

Eyelet sensors, also called lug terminal sensors, are designed for reliable electrical connection and precise measurement in industrial and electronic applications. They combine secure mechanical attachment with stable sensing performance
- Secure attachment : The eyelet (lug) design allows firm connection to screws, bolts, or terminals.
- Accurate sensing element : Can measure current, voltage, or temperature depending on sensor type.
- Durable construction : Resistant to vibration, corrosion, and environmental stress.
- Long-term stability : Maintains reliable performance over extended operation.
- Compact and versatile : Easy to integrate into electrical panels or industrial equipment.

Stainless steel triple-staged pipe

Stainless steel triple-staged pipe sensors are high-precision temperature sensing devices designed for demanding industrial applications. The triple-stage design ensures enhanced thermal conduction, protection, and measurement accuracy, while the stainless steel housing provides durability and corrosion resistance.
- Triple-staged construction : Optimizes thermal response and measurement stability.
- Stainless steel housing : Provides corrosion resistance, mechanical strength, and long-term durability.
- Accurate sensing element : Ensures precise and repeatable temperature readings.
- Robust and reliable : Withstands vibration, pressure, and harsh environmental conditions.
- Long-term stability : Maintains consistent performance over extended operation.

Stainless steel pipe sensor

Stainless steel pipe sensors are temperature sensing devices encased in a durable stainless steel tube, providing excellent mechanical strength, corrosion resistance, and reliable thermal conduction. They are suitable for precise temperature measurement in industrial and harsh environments.
- Stainless steel housing : Provides corrosion resistance, durability, and protection against mechanical stress.
- Accurate sensing element : Ensures precise and repeatable temperature measurement.
- Efficient heat transfer : Optimized for fast and reliable pipe or surface temperature monitoring.
- Robust and long-lasting : Maintains consistent performance in harsh conditions.
- Versatile installation : Suitable for various industrial piping systems and equipment.

Eyelet (lug terminal) sensor
 sensor-R1.webp)
Eyelet sensors, also known as lug terminal sensors, are designed for secure electrical connection and precise measurement in industrial and electronic applications. They combine mechanical reliability with stable sensing performance.
- Secure connection : The eyelet (lug) allows firm attachment to screws, bolts, or terminals.
- Accurate sensing element : Can measure current, voltage, or temperature depending on sensor type.
- Durable construction : Resistant to vibration, corrosion, and environmental stress.
- Long-term reliability : Maintains consistent performance over extended operation.
- Compact and versatile : Easy integration into electrical panels or industrial equipment.

Epoxy-dipped sensor (thermistor chip with gold electrodes)
.webp)
Epoxy-dipped thermistor sensors feature a miniature thermistor chip encapsulated in epoxy resin with gold-plated electrodes. This design combines precise temperature measurement with robust mechanical protection and excellent electrical conductivity.
- Thermistor chip : Provides highly accurate and repeatable temperature measurement.
- Gold-plated electrodes : Ensure excellent electrical contact, corrosion resistance, and long-term stability.
- Epoxy encapsulation : Protects the sensor from moisture, dust, vibration, and mechanical stress.
- Compact and durable : Lightweight and suitable for integration into small or high-density assemblies.
- Fast thermal response : Thin-film thermistor allows rapid detection of temperature changes.

Epoxy-dipped sensor

Epoxy-dipped sensors are miniature sensing devices encapsulated in protective epoxy resin. The epoxy coating provides mechanical strength, electrical insulation, and resistance to moisture and environmental stress, ensuring reliable operation in industrial and electronic applications.
- Protective epoxy coating : Shields the sensor from moisture, dust, vibration, and mechanical impact.
- Accurate sensing element : Offers stable and repeatable measurement performance.
- Compact and durable : Easy to integrate into small assemblies or high-density electronic boards.
- Long-term reliability : Maintains consistent operation over extended periods.
- Versatile design : Suitable for various types of thermistors, temperature sensors, or other sensing elements.

Screw housing sensor

A screw housing sensor is a temperature (or sometimes pressure) sensor integrated into a threaded metal body so it can be screwed directly into equipment for secure mounting and accurate thermal contact.
- Screw-mounted design : Easy and secure installation in machinery or control panels.
- Non-contact detection (in many models) : Often uses inductive or capacitive sensing to detect objects without physical contact.
- Durable housing : Resistant to dust, vibration, and temperature changes; suitable for industrial environments.
- Precision and reliability : Maintains accurate detection even under continuous operation.

Clip sensor

A clip sensor is a compact sensor designed for quick attachment, usually by clipping onto a rail, pipe, cable, or surface, making installation fast and flexible. These sensors are often used for position detection, object sensing, or monitoring moving parts.
- Clip-on installation : Easy to mount or reposition without screws or additional fixtures.
- Non-contact detection : Often uses inductive, magnetic, or optical principles to detect nearby objects.
- Durable and lightweight : Built to withstand industrial environments with vibration, dust, and temperature variations.
- Versatile positioning : Can monitor components in tight or hard-to-reach spaces.

Eyelet (lug terminal) sensor
 sensor-R11.webp)
An eyelet or lug terminal sensor is a sensor designed with an eyelet (or lug) connection for secure electrical attachment. This type of sensor is typically used where a robust, reliable electrical connection is required, especially in machinery or control systems with vibration or high current environments.
- Eyelet/lug terminal connection : Ensures a firm and secure electrical connection, often bolted or screwed onto a terminal.
- Durable construction: Resistant to vibration, dust, and temperature changes in industrial environments.
- Reliable sensing : Can detect temperature, position, or other process parameters depending on sensor type.
- Versatile integration : Compatible with existing terminal blocks, bus bars, or wiring systems.

Flange pipe sensor

A flange pipe sensor is a sensor designed to be mounted directly onto a pipe or vessel via a flange. This design ensures a secure, leak-proof installation and is widely used in industrial fluid systems, process monitoring, and pipeline automation.
- Flange mounting : Easily bolted to standard pipe flanges for secure, stable installation.
- Non-intrusive or intrusive detection : Can measure flow, pressure, temperature, or level depending on sensor type.
- Durable construction : Typically made of corrosion-resistant materials to handle harsh environments.
- High reliability : Maintains accurate measurements under high pressure, temperature, or vibration.

Eyelet (lug terminal) sensor
 sensor.webp)
An eyelet or lug terminal sensor is a sensor designed with a ring-shaped terminal (eyelet/lug) that allows secure electrical connection to machinery, panels, or bus bars. This design is especially useful in high-vibration or industrial environments where a firm electrical connection is critical.
- Eyelet/lug connection : Provides a bolted or screwed attachment for stable electrical contact.
- Durable and reliable : Built to withstand mechanical stress, vibration, dust, and temperature variations.
- Versatile sensing : Depending on the sensor type, it can monitor temperature, position, current, or voltage.
- Easy integration : Compatible with standard terminal blocks or wiring systems.

M5 screw housing sensor

An M5 screw housing sensor is a compact proximity or position sensor designed with an M5 threaded housing for easy mounting in industrial machinery and automation systems. Its small size and standardized thread make it ideal for precise, secure installation in tight spaces.
- M5 threaded housing : Allows screw-in mounting for stable and precise positioning.
- Non-contact detection : Often uses inductive or capacitive principles to detect metal or other targets without physical contact.
- Durable construction : Resistant to vibration, dust, and temperature fluctuations in industrial environments.
- High-speed and reliable : Suitable for fast-moving parts and continuous operation.

